Product Summary
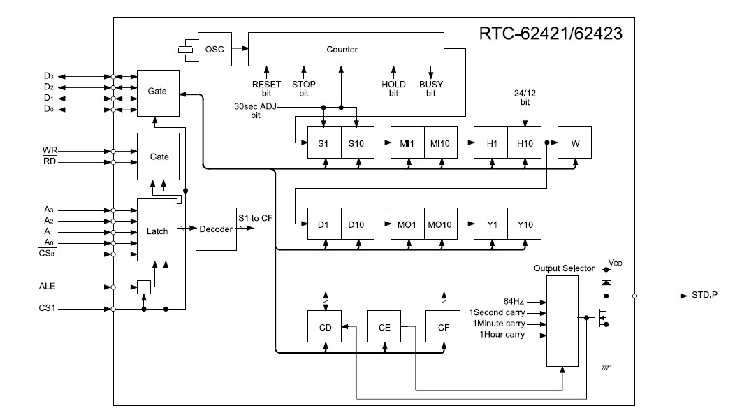
The RTC62421A is a real time clock module. The RTC62421A is a real time clock that can be connected directly to a microprocessors bus. Its built-in crystal unit enables highly accurate timekeeping with no physical access required for adjustment and, since there is no need to connect external components, mounting and other costs can be reduced. In addition to its time and calendar functions, the RTC62421A enables the use of 30-seconds correction and fixed-period interrupt functions.
Parametrics
RTC62421A absolute maximum ratings: (1)Supply voltage VDD Ta=25℃: -0.3 to 7.0; (2)Input voltage VI Ta=25℃: GND-0.3 to VDD+0.3 V; (3)Output voltage VO Ta=25℃: GND-0.3 to VDD+0.3; (4)Storage temperature TSTG: -55 to +85℃.
Features
RTC62421A features: (1)Compatibility with InteCPU bus; (2)Address latch enable (ALE) pin compatible with multiplex bus CPUs; (3)Time (hours, minutes, seconds) and calendar (year, month, day) counter; (4)24-hour/12-hour switchover and automatic leap-year correction functions; (5)Fixed-period interrupt function; (6)30-seconds correction (adjustment) function; (7)Battery back-up function.
Diagrams

![]() |
![]() RTC6701 |
![]() Other |
![]() |
![]() Data Sheet |
![]() Negotiable |
|
||||
![]() |
![]() RTC6711 |
![]() Other |
![]() |
![]() Data Sheet |
![]() Negotiable |
|
||||
![]() |
![]() RTC6721 |
![]() Other |
![]() |
![]() Data Sheet |
![]() Negotiable |
|
||||
![]() |
![]() RTC64613A |
![]() Other |
![]() |
![]() Data Sheet |
![]() Negotiable |
|
||||
(China (Mainland))








