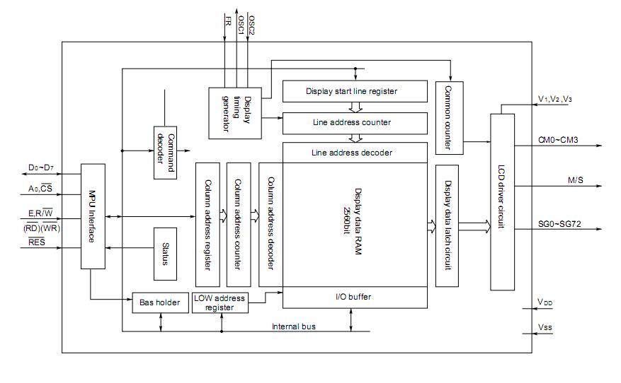
Product Summary
The SED1540F0A is a segment LCD driver intended for use with medium size LCD panels. The SED1540F0A generates LCD drive signals from data supplied by an MPU over a high speed, 8-bit bus, 4-bit bus and stored in its internal display RAM. The SED1540F0A incorporates innovative circuit design strategies, to achieve very low power consumption at a wide range of operating voltages, and a rich command set.
Parametrics
SED1540F0A absolute maximum ratings: (1)Supply voltage:–8.0 to +0.3 V; (2)Supply voltage:–15.0 to +0.3 V; (3)Supply voltage:V3 to +0.3 V; (4)Input voltage:VSS–0.3 to +0.3 V; (5)Output voltage:VSS–0.3 to +0.3 V; (6)Power dissipation:250 mW; (7)Operating temperature:–40℃ to +85℃; (8)Storage temperature:-65℃ to +150℃.
Features
SED1540F0A features: (1)Fast 8-bit MPU interface compatible with 80- and 68- family microcomputers; (2)Rich command set; (3)73 segment drive outputs; (4)4 common drive outputs; (5)Selectable 1/3 or 1/4 duty cycle; (6)Low power consumption -70 μW maximum; (7)Wide range of supply voltages, VSS–2.4 V to –7.0 V; (8)Implemented in CMOS; (9)Choice of packages: 100-pin QFP.
Diagrams

![]() |
![]() SED10HB45 |
![]() Other |
![]() |
![]() Data Sheet |
![]() Negotiable |
|
||||
![]() |
![]() SED10HE45 |
![]() Other |
![]() |
![]() Data Sheet |
![]() Negotiable |
|
||||
![]() |
![]() SED110LB30 |
![]() Other |
![]() |
![]() Data Sheet |
![]() Negotiable |
|
||||
![]() |
![]() SED110LE30 |
![]() Other |
![]() |
![]() Data Sheet |
![]() Negotiable |
|
||||
![]() |
![]() SED1180 |
![]() Other |
![]() |
![]() Data Sheet |
![]() Negotiable |
|
||||
![]() |
![]() SED1180F |
![]() Other |
![]() |
![]() Data Sheet |
![]() Negotiable |
|
||||
(China (Mainland))








